
Apple krijgt patent voor Face ID voor de Mac
Dat Apple zelden of nooit iets in isolatie ontwikkelt is bekend, technieken die in één device gebruikt worden komen later vaak ook in andere devices terug. Logisch, je gelooft er niet alleen in en ziet dat het goed werkt, het is ook een goede manier om de kosten van Research en Development terug te verdienen.
Zo blijkt uit een net voor het weekend
verleend patent dat Apple bezig is met
Face ID voor de Mac. Op een iMac is dat nog relatief makkelijk te implementeren, in de afbeelding hieronder zie je dat het in een uitsparing in het scherm is verwerkt. Doordat een iMac nooit extreem ver naar voren of naar achteren gekanteld wordt zou dit voldoende moeten zijn, Face ID op iPhones werkt ook onder een hoek.

Apple krijgt patent voor Face ID voor de Mac
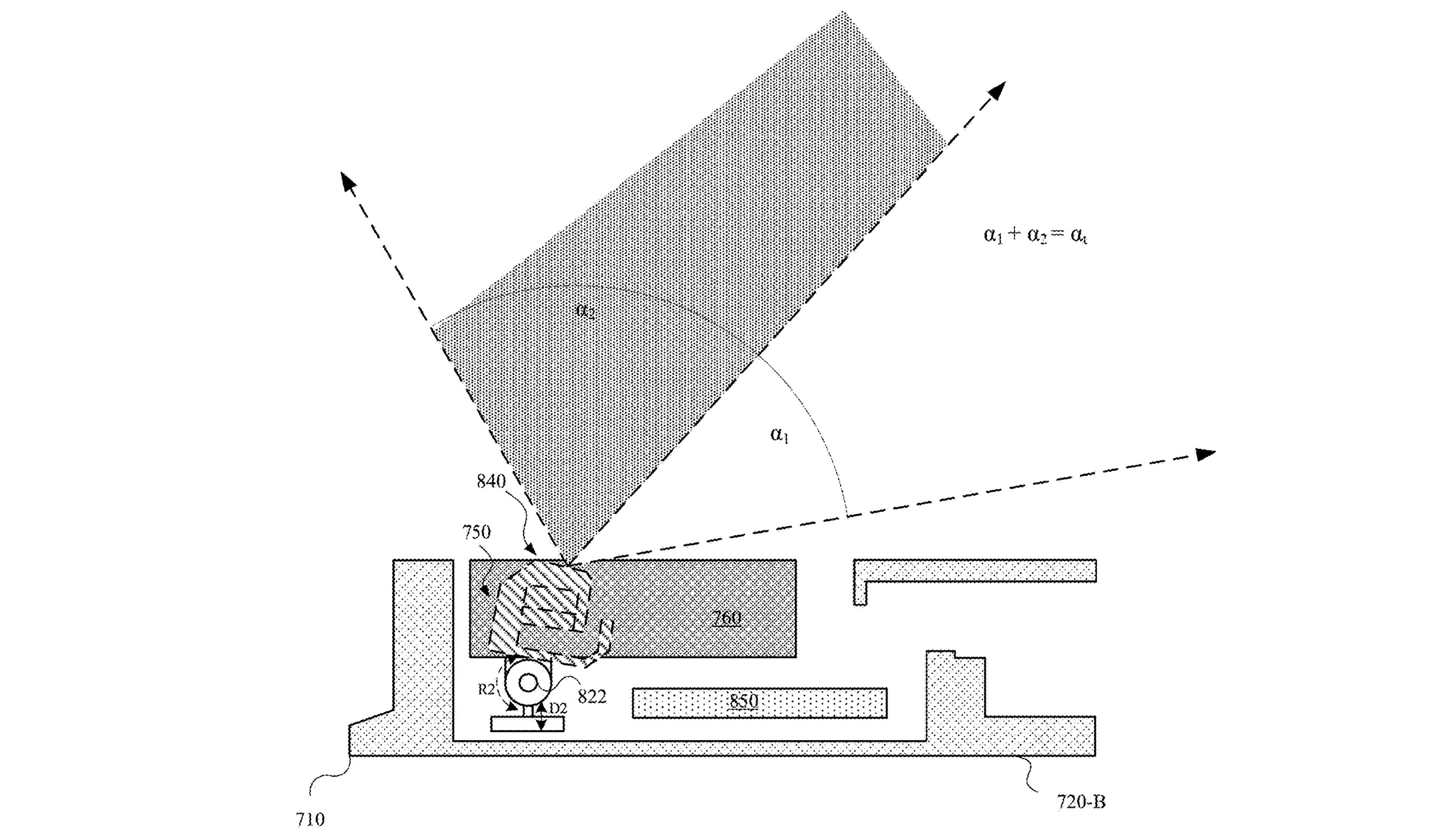
Ook op MacBook modellen zou de sensor in een uitsparing aan de bovenkant van het scherm komen, zoals je in de eerste afbeelding hieronder kan zien. Maar in een laptop zal er rekening gehouden moeten worden met veel extremere hoeken waaronder Face ID ook nog goed zal moeten werken. De oplossing in dit patent is om een extra sensor te plaatsen in de Touch Bar, die dan samen met de sensor aan de bovenkant van het scherm de klus zal moeten klaren.
De laatste afbeelding hieronder laat die sensor in detail zien.

Apple krijgt patent voor Face ID voor de Mac

Apple krijgt patent voor Face ID voor de Mac

Dat de meeste tekst en afbeelding over het toepassen van Face ID in laptops gaat is dan ook niet zo verwonderlijk, daar zitten de meeste problemen die opgelost moeten worden.
Dat Apple hier nu patent voor heeft gekregen zegt trouwens nog niet dat dit ook echt in Macs gebruikt gaat worden. Bij Apple wordt aan heel erg veel verschillende ideeën en technieken gewerkt, alleen een erg klein percentage daarvan verschijnt uiteindelijk echt in de producten.
met dank aan forumlid ‘Mac OS X’, die dit nieuws als eerste meldde#Mac #Patent